Whistory
In 1909, Acme Whistles owned by J. Hudson, designed a change in round whistles. Typical fipples found in round whistles (Group 1) have two arched fipple plates for the mouthpiece, one inside and one outside. In Group 2, round whistles made by Hudson, we find the inside fipple (ramp) has been removed leaving a flat disc. Our study of both groups of these whistles reveal no exception.
The Flat Disc Versus Traditional Fipple Construction
The inner second part is the inside of the fipples, and these are usually a large, angled piece installed to direct the air upwards and out the window through a small opening.
With the 553 patent of 1909, Hudson designed a different approach using simply a dam like disc. Rather than the air moving up an angled ramp and out the window, the ‘ramp’ is removed and an open plenum is created where air pushes out the edge of the plate opening and eventually the window.
Flat Disc Advantages in Whistle Manufacturing
Both methods effectively work the same for sound. Yet this disc made production easier, reduced casting and with less materials.
The Flat Disc as an Identifying Feature
Why are we examining this? Because this is a design variation and is an identifying feature and therefore remained entirely Hudson’s, with no one else trying it.
No round whistles prior to the 1909 three-point patent with flat discs have been found.
Whistle Classification
| Type | rounds combinations |
| Maker | Hudson |
| Category | civil military fire brigade |
| Material | plated brass nickel silver |
| Feature | flat disc (“fipple”) |
Whistle Archeology
Patent 553 three-point attachment 1909
HUDSON ROUND — TABS
Bibliographic data: GB190900553 (A) ? 1909-11-11

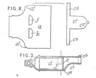
553. Hudson, J., [trading as Hudson & Co., J.]. Jan. 9. Whistles.-In whistles of the type having a cylindrical body, and a mouthpiece of which the underside is concave in shape, this concave portion is formed from a separate blank c<1> which may have extension pieces c<3> to form a strengthening-lip. A lug c<2> may also be formed to engage a recess a’ in the body part a to hold the whole in correct position for soldering ; or lugs may be formed on the body part, and recesses on the mouthpiece. A multi-note whistle may be formed by stamping holes j, k in the blank forming the body so that they are unsymmetrically placed with respect to the barrel when the blank is shaped. A partition d, and diaphragm e, are fitted within the body.

The patent information is found for the flat disc modification. It has to be focused on in the design drawing as diagram e and can be seen as a flat disc.
Whistology
The following round whistles are all Hudson rounds with flat disc diaphragms. They are all circa 1909 and later. Each also has the three-point attachment of the fipple, patented 1909 under 553.


Two examples of combination whistles by Hudson with flat discs with patent 553.

Top and inside view of the flat Hudson disc.


Conclusions
The flat disc fipple corresponds to the same year as Hudson’s patent 553 for the three-point attachment of the curved underside fipple on Hudson round whistles.
We can thus date these whistles no earlier than 1909. Additionally, this is an identifying feature.
TWG
Initial Research December 28, 2024
First Printing December 28, 2024
Edited January 2, 2026
Posted January 7, 2026
Bibliography:
- Google Patent Search
- TWG Reference Collection
- More Whistles by Martyn Gilchrist
- Collecting Police Whistles and Similar Types by Simon Topman & Martyn Gilchrist
- TWG Archives





Users This Month : 1552
Total views : 153249